In this article I am going to explain why a seemingly secure portable restroom somehow falls off of a moving delivery truck...
Safety
Displaying results 273-289 of 297
Editorial
Trucks and Tanks
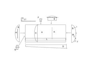
Portable Restroom Vacuum Truck
The 2012 International 58,000-pound GVW portable restroom vacuum truck from Best Enterprises features a 3,600-gallon stainless steel tank, overflow...
Editorial
Trucks and Tanks
Pennsylvania PRO needs restroom service truck for cold climate
Problem
PRO R.C. Stahlnecker, Milton, Pa., needed a new vacuum truck for portable restroom...
Editorial
Portable Toilet Operators Seek Safe & Operational Vacuum Tank Designs
Over the past few years, I've had many requests to design the perfect vacuum tank. And for the most part, I generally...
Editorial
Growing Portable Sanitation Business Utilizes Government Contracts & Construction Knowledge
Talk about bad timing: In 2007, Lee and Mark Insley bought a small but established portable sanitation business in Warner Robins, Ga.,...
Editorial
Family Owned Company Services Annual Half-Marathon
THE TEAMClinkscales Portable Toilets & Septic Service is owned and operated by the brother-sister team of Trent Clinkscales and Terry Shankle in...
Editorial
Industry News - March 2013
PolyPortables partners with Jordan-Blanchard Capital
PolyPortables has partnered with Jordan-Blanchard Capital (JBC) in a transaction that will ultimately lead to full ownership...
Online Exclusives
Tire pressure monitoring solutions help fleets cut costs and go green
Advantage PressurePro, a tire pressure monitoring systems company, helps fleets and drivers understand the benefits of keeping tires properly inflated. Underinflated tires...
Editorial
Conventional Vacuum Tank Designs Stand Test of Time
QUESTION:I've seen a lot of vacuum trucks over the years and they are pretty much the same. Round tank, trays, etc. I've...
Editorial
Portable Restroom Operator Takes on Lucrative Country Music Jamboree
The teamLisa and Scott Weld, owners of Buck's Sanitary Service in Eugene, Ore., have a staff of 10 — an office worker,...
Editorial
Industry News - February 2013
Hino approved for California hybrid incentive
The 2013MY Class 5 195h diesel electric cabover from Hino Trucks was approved by the California...
Online Exclusives
Ultrasonic Inspection Determines Tank Thickness
Visual inspection and routine maintenance are the keys to ensuring the longevity and safe operation of steel vacuum tanks. When the thickness...
Editorial
Flipping The Fleet
When Braden Jones saw a pattern of breakdowns in his vacuum service fleet at Ace Enterprises Inc., near Baton Rouge,...
Editorial
On the Move
Moving banks of portable restrooms doesn't have to be a time-consuming, backbreaking chore with help from the latest trailers...
Editorial
Rising to The Occasion
THE TEAM
Vickie Hatcher is an old hand at rounding up the crew and the equipment each summer to serve crowds that...
Editorial
Old Dog, New Tricks
At 55, when many folks start to scan their 401(k) retirement accounts more often, Tony Sinopoli bucked convention and started...
Editorial
Compact Vacuum
Slide-in or bolt-on vacuum tanks serve several valuable purposes in the portable sanitation industry. They offer a good option...










