Over the past few years, I've had many requests to design the perfect vacuum tank. And for the most part, I generally have responded by saying that the perfect tank is the one that suits you. There is not one optimal, universal vacuum tank design to fit the work of all portable restroom operators.
But let's say I want a basic, easy-to-manage vacuum tank. I've come up with a fundamental design and explanation for a vacuum tank that I think would suit most portable restroom contractors. For this example, we'll be using normal A-36 steel. Stainless steel and aluminum would be slightly different in thicknesses and bracing. Take a look at the listing below and the corresponding letters on the accompanying drawing.
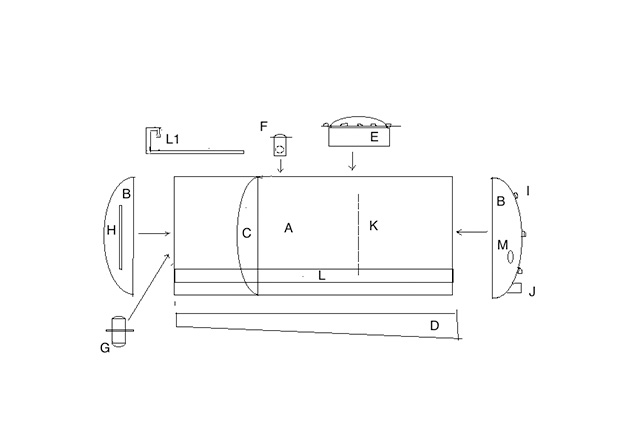
A. 1/4-inch plate steel shell (round cylinder). For a tank with a smaller-than-typical diameter, there is the possibility of going to 3/16-inch plate.
B. Flanged and dished heads, made from 1/4-inch plate
C. Flanged and dished head to act as a bulkhead, separating the water compartment from the waste compartment
D. Sloped skids, front-to-back, for easier unloading
E. 20-inch manway located over the baffle (letter K) so a technician can reach both sides of the vacuum tank for cleaning
F. Primary shut-off located near the front of the vacuum compartment
G. Secondary moisture trap located on the tank to provide reachable access by the driver for everyday clean out. A user shouldn't need a ladder or have to crawl up on the trays to empty the secondary.
H. Sight tube on water compartment
I. Three sight bubbles on rear head to easily monitor the waste level in the tank
J. Located in the bottom of the rear, the dump can be any size that will allow the tank to be emptied most efficiently. This fitting can also be used for suction (letter M).
K. Baffle, usually made of the same thickness of material used to construct the tank
L. Full-length hose trays, usually made of a lighter material, but reinforced with proper bending to add strength
L1. The end view of a hose tray shows construction for stiffness. For additional strength and rigidity, they are support-welded from the tank underneath the tray.
M. Suction fitting. I like a 3-inch because it can easily be reduced to 2 inches and the larger fitting gives more flexibility on the job.
IN CONCLUSION
My goal in this type of tank is simple: Make it easy for the operator to maintain both from an operational viewpoint as well as a safety viewpoint.
Next month, we'll take a look at the vacuum pumping system.
Using Both Flat and Dished Heads on a Vacuum Tank
QUESTION: Some portable restroom trucks have a flat head at one end and a dish-type head on the other end. Why doesn't that tank collapse under vacuum?
Bill Musgraves, Memphis, Tenn.
ANSWER: The water compartment of a portable restroom service truck is not under vacuum. Since the water compartment has its own pump system, the ends can be flat. However, when the waste tank vacuum system is in use, the forces of vacuum need to be dealt with, and that's where the design of the dished heads comes in. When both a water tank and waste tank are incorporated into the same unit, the flat head on one end is most likely part of the water tank, and used to save money and space. It might be cheaper to have a flat head on one side of the water tank, and a structurally superior dished head separating the water and waste compartments. Some PROs, however, don't like the look of a dished head at one end and a flat head on the other.
The flat head might be a bit less expensive to manufacture. It requires the labor to cut the circle out and then flange the outside edge of the circle to where it bends 90 degrees. This is done on a head flanger. When you compare the cost of a dished head versus the labor and material of a flat head, the two come pretty close.
Although it might be slightly cheaper to make flat heads in-house, many tank manufacturers find it saves time to purchase the finished flanged and dished heads. While waiting for delivery, the tank builder preps other components on the truck, such as installing the PTO and/or the pump. Ultimately, the flat head gives the customer more space on the truck frame for additional water or wastewater capacity or allows them to shorten the tank to fit the truck's frame if necessary.















